一种整体式电磁离合器电动机(二)
延续第一节所述,整体式电磁离合器电动机的工作原理过程如下:工作时,若让后激磁绕组得电,活动盘在电磁力作用下,吸合在前端盖上,通过键把转轴刹住,这时,可把定子绕组通电,转子在电磁力作用下与飞轮一起转动,飞轮与转子为静配合连接,由于轴与飞轮之间为滚动轴承安装,这时转轴不动,没有通过转轴输出电机功率;当需要转轴工作时,让后激磁绕组失电,同时前激磁绕组得电。活动盘及其上的摩擦块在电磁力的作用下,被吸合到飞轮上,与飞轮一起转动,这里飞轮与活动盘之间是通过摩擦方式传递动力。这时活动盘又通过键带动转轴运转,输出电机功率。相反需要轴停止工作时,前激磁绕组失电,后激磁绕组得电,活动盘吸合在前端盖上把转轴给刹住,这时活动盘与飞轮脱离,电机不通过转轴对外输出功率。
下面结合附图对被产品的具体结构和工作原理作进一步详细说明。
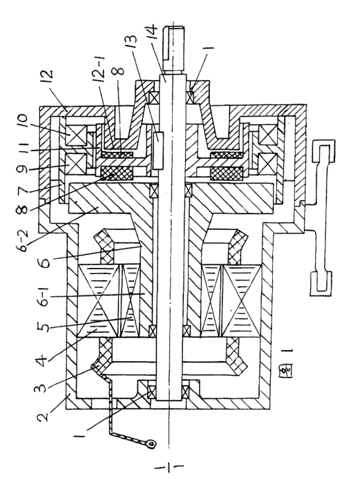
图1是整体式电磁离合器电动机的装配结构示意图。
图2是飞轮为分体式制造时的结构示意图。
图3是磁轭的双环槽结构为分体式制造时的结构示意图。
图4是现有的分体式结构的电磁离合器电动机的整体结构示意图。
在图1中,1轴承,2机壳,3定子绕组,4定子,5转子,6飞轮,6-1飞轮的套部分,6-2飞轮的转盘部分,7磁轭,7-1双环槽,8摩擦块,9前激磁绕组,10后激磁绕组,11活动盘,12前端盖,12-1凸环式平台,13键,14转轴。
在图4中,1轴承,2机壳,3定子绕组,4定子,5转子,6飞轮,7-1前磁轭,7-2后磁轭,8摩擦块,9前激磁绕组,10后激磁绕组,11-1前活动盘,11-2后活动盘,12前端盖,13离合部分中带花键的导轴,14电机部分的转轴,15导磁盘,16前盖
从图1可知,整体式电磁离合器电动机的转轴的两头是通过前后轴承安装在前端盖和机壳上。在具体加工制造时,飞轮的套部分与飞轮的轮盘部分可连接制造,但也可分体制造。在具体加工制造时,磁轭的双环槽结构可连体制造,也可分体制造。电机前端盖的结构特点在于其内侧设有一圈供活动盘和摩擦块吸合的凸环式平台,这是由于整体式电磁离合器电动机在采用单个磁轭和单个活动盘时缩小了电机长度,为了使整机装配更紧凑,其前端盖的形状可制成与已有技术的前端盖略有不同。
与现在有技术相比,由于将组合式结构改为整体式结构,保证了电机在安装和离合与制动过程中的同轴度要求,离合工作平稳,降低了电机的振动和噪音,同时结构合理,在电机的离合部分也可采用一个磁轭替代原有的两个磁轭,一个活动盘代替原有的两个活动盘,不仅工艺性好,装配简单易行,一次装配合格率高,也降低了电机的制造成本,增强了市场竞争力。



相关资讯
- [20-02-23]怎么对电磁制动器进行拆装
- [20-02-17]您了解凸轮张开式制动器吗
- [18-07-30]电磁离合器的动作原理分析
- [18-07-30]电磁离合器的组装步骤
- [18-07-25]制动器是什么意思?
- [18-07-25]制动器是什么意思?
- [18-07-24]磁粉制动器选型与安装的注意事项
- [18-07-16]电磁离合器的扭矩变化
- [18-07-16]电磁离合器的扭矩变化
- [18-07-12]电磁离合器选型计算
- [16-12-01]一种新型轻量化电磁离合器
- [16-11-27]馈能型电磁转差离合器及控制方法(二)
- [16-11-24]馈能型电磁转差离合器及控制方法(一)
- [16-11-22]电磁双向可选择滚柱式超越离合器
- [16-11-20]一种电磁离合器失电制动器用摩阻材料…
- [16-11-17]新型电磁离合器(四)
- [16-11-14]新型电磁离合器(三)
- [16-11-13]新型电磁离合器(二)
- [16-11-12]新型电磁离合器(一)
- [16-11-11]公司最新发明的可逆电磁离合器(二)







