馈能型电磁转差离合器及控制方法(二)
作者:亨劲传动发表时间:2016年11月27日
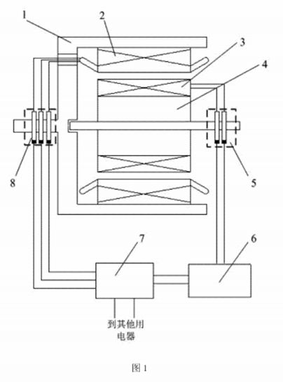
附图说明:图1为馈能型电磁转差离合器的结构示意图;图2为馈能型电磁转差离合器的内、外转子径向剖面图;图3为馈能型电磁转差离合器的能量回收电路图;图4为馈能型电磁转差离合器的励磁电路图;图5为馈能型电磁转差离合器的控制器框图;图6为*PWM1, 2,3和/*PWM1,2,3信号的占空比的控制方法示意图;图7为*PWM4信号的占空比的控制方法示意图;图8为*PwM5信号的占空比的控制方法示意图;图9为*K1信号的控制方法示意图;图10为*K2信号的控制方法示意图。图中:1、外转子,2、三相绕组,3、励磁绕组,4、内转子,41、凸极铁芯,5、励磁绕组电刷,6、控制器,7、能量回收装置,8、三相绕组电刷。
具体实施方式:下面结合附图以及具体实施例对本发明作进一步的说明,但本发明的保护范围并不限于此。
本发明提出的馈能型电磁转差离合器适用于各种原动机加调速装置驱动负载且电力源无法应用的场合,下面以应用于重型车辆转向系绕的馈能型电磁转差离合器为具体实施例。
图1为馈能型电磁转差离合器的结构示意图,馈能型电磁转差离合器包括电磁转差离合器、能量回收装置、励磁电路和控制器组成,电磁转差离合器包括外转子1、内转子4、三相绕组电刷8、励磁绕组电刷5。外转子1上的三相绕组2与三相绕组电刷8相连,内转子4上的励磁绕组3与励磁绕组电刷5相连,能量回收装置7与三相绕组电刷8连接,控制器6分别与能量回收装置7以及励磁绕组电刷5相连,能量回收装置7还与其他用电器相连。
馈能型转差离合器的外转子1由原动机驱动,内转子4与负载相连,能量回收装置7中超级电容为内转子中的励磁绕组提供励磁电流,外转子1相对内转子4转动时,励磁电流形成的磁场在外转子1的三相绕组2中感应出电动势,由于三相绕组2和能量回收装置7形成闭合电路,于是三相绕组2中产生三相电流,三相电流在励磁磁场的作用下形成电磁转矩带动内转子4旋转;三相绕组2中感应的三相交流电一方面为励磁绕组3提供励磁电流,另一方面给超级电容充电,当超级电容充满电时,为其他用电器供电。
图2为馈能型电磁转差离合器的内、外转子径向剖面图,外转子1包含铁芯11、三相绕组2 (图中为画出),铁芯11上有36个T型齿、36个齿槽,三相绕组采用双层短距、分布式绕组,内转子4包含凸极铁芯41、励磁绕组3 (图中未画出),铁芯有6个磁极,励磁绕组依次绕在相邻的磁极上,绕组通电后形成相互间隔的3个N极和3个S极。
图3为馈能型电磁转差离合器的能量回收电路图,能量回收电路主要包括滤波电感L、三相整流桥、滤波电容C1、能量旁通电路、电压调节电路、反馈电阻和超级电容。电磁转差离合器的三相绕组与滤波电感相连,三相绕组与滤波电感之间每相分别串联电压传感器,滤波电感连接三相整流桥,滤波电感与三相整流桥之间每相分别串联电流传感器,滤波电感用于滤除三相绕组中的消波电流;三相整流桥由6个带有反向二极管的MOS管v1~v6组成,能量旁通电路由旁通电阻 R1和旁通 MOS管v7串联而成,能量旁通电路并联于整流桥的输出端,在车辆与原地转向或低速转向的工况下,能量旁通电路接通,提高三相电流,这样在传递同样扭矩的情況下励磁电流降低;电圧调节电路包括 MOS管v8、二极管D7、电感L1,使输出的电压稳定在28v,电压调节电路的输出端连接励磁电路,并通过MOS管v9连接至蓄电池;超级电容SC与RC串联后并联于电压调节电路输出端之间;反馈电阻由R2 和RF串联而成,并联于超级电容两端,电阻R2和RF之间有反馈电压Ufb输出。
图4为馈能型电磁转差离合器的励磁电路图,励磁电路包括MOS管v10、MOS管栅极电阻R3和R4、续流二极管D8,能量回收装置的电源输出端与地之间顺序串接励磁绕组、电流传感器、MOS管v10,续流二极管并联与励磁绕组和电流传感器两端, 栅极电阻R3与MOS 管的棚极相连,对栅极驱动电流进行限流, R4并联于 MOS管的栅极和源极,提供栅极、源极间电容电压的卸荷路径。
图5为馈能型电磁转差离合器的控制器框图,控制器主要包括电源电路、信号调理模块、单片机、驱动模块,电源电路产生各模块所需的电压,信号调理模块接收来自电磁转差离合器三相绕组的三相电动势ea、eb、ec,三相绕组的相电流ia、ib、ic,励磁绕组中的励磁电流If,反馈电压Ufb,电磁转差离合器的输出转速n和车速v,对信号进行滤波和电平转换;单片机根据调理后的输入信号及设定的控制策略运算出输出信号*PwM1,2,3及/*PWM1,2,3以及*PWM4、*PWM5、*K1和*K2;驱动模块是各MOS管的栅极驱动电路,驱动模块输出各MOS管的栅极驱动信号PWM1,2,3及/PWM1,2,3以及PWM4、 PWM5、K1和K2。
图6至图1O为馈能型电磁转差离合器的控制方法示意图,馈能型电磁转差离合器的控制方法为:单片机实时检测车速,当车速v≤1OKm/h时,输出*K信号为高电平,当车速v>10Km/h时,输出*K1信号为低电平;根据反馈电压信号Ufb计算出超级电容的电压Usc,当 Usc<24v时,输出*K2信号为低电平,当Usc≥24v时,输出*K2信号为高电平,根据三相电动势ea、eb、ec通过PLL锁相环模块计算出电角度,用于abc坐标系到dq坐标系的变换。
馈能型电磁转差高合器可以回收转差损耗,在不影响效率的前提下提高调速范围;转差离合器的励磁功率由回收装置提供,不需要额外的电源;提出的控制方法可以提高能量回收效率,増强电磁转差离合器的输出转速特性,并协调控制电磁转差离合器的调速性能和回收性能;利用此馈能型电磁转差离合器对重型车辆的转向泵的转速进行调节,使车辆具有随速可变的助力特性,同时避免了转向泵大量的无功损耗。

下一篇:下一篇:电磁离合器选型计算上一篇:上一篇:馈能型电磁转差离合器及控制方法(一)
此文关键字:电磁转差离合器 |
相关资讯
- [20-02-23]怎么对电磁制动器进行拆装
- [20-02-17]您了解凸轮张开式制动器吗
- [18-07-30]电磁离合器的动作原理分析
- [18-07-30]电磁离合器的组装步骤
- [18-07-25]制动器是什么意思?
- [18-07-25]制动器是什么意思?
- [18-07-24]磁粉制动器选型与安装的注意事项
- [18-07-16]电磁离合器的扭矩变化
- [18-07-16]电磁离合器的扭矩变化
- [18-07-12]电磁离合器选型计算
- [16-12-01]一种新型轻量化电磁离合器
- [16-11-27]馈能型电磁转差离合器及控制方法(二)
- [16-11-24]馈能型电磁转差离合器及控制方法(一)
- [16-11-22]电磁双向可选择滚柱式超越离合器
- [16-11-20]一种电磁离合器失电制动器用摩阻材料…
- [16-11-17]新型电磁离合器(四)
- [16-11-14]新型电磁离合器(三)
- [16-11-13]新型电磁离合器(二)
- [16-11-12]新型电磁离合器(一)
- [16-11-11]公司最新发明的可逆电磁离合器(二)







