新型电磁离合器(二)
作者:亨劲传动发表时间:2016年11月01日
这种新型电磁离合器的设计所要解决的技术间题是提供一种具有较小功率消耗、并具有较长使用寿命的电磁离合器。
本实用新型电磁离合器,包括:具有轴线的转轴;用于接收外部动力的主动轮;安装于转轴上的从动轮组件;电磁铁,当向电磁铁通电时,电磁铁能够产生磁场;衔铁组件,衔铁组件能够沿转轴轴线的方向作轴向运动;随着衔铁组件的轴向运动,从动轮组件能够在与主动轮接合的接合位置和与主动轮分离的分离位置之间运动;弹性件,弹性件向衔铁组件施加作用力;其特征在于,电磁离合器还包括第一转子,第一转子位于电磁铁与衔铁组件之间并且包括软磁材料;其中:衔铁组件包括永磁体;衔铁组件能在靠近电磁铁和第一转子的第一位置与远离电磁铁和第一转子的第二位置之间轴向运动,当向电磁铁施加第一方向的第一电流时,通过电磁铁与衔铁组件永磁体之间的吸引力,衔铁组件能够朝向第一位置运动;当衔铁组件运动至第一位置时,衔铁组件的永磁体能够与第一转子的软磁材料相互吸引,使得在减小第一方向的第一电流或者在断开第一方向的第一电流的情況下,衔铁组件能够被保持在第一位置;弹性件沿衔铁组件向第二位置运动的方向向衔铁组件施加作用力;以及当向电磁铁施加与第一方向相反的第二方向的第二电流时,电磁铁与衔铁组件的永磁体之间相互排斥,衔铁组件在这种排斥力以及弹性件的作用力共同作用下向第二位置运动。
本实用新型具有以下技术效果: 对于电磁铁的电磁力要求较小,即对于电流要求小、节能;并且延长电磁铁使用寿命。
附图说明
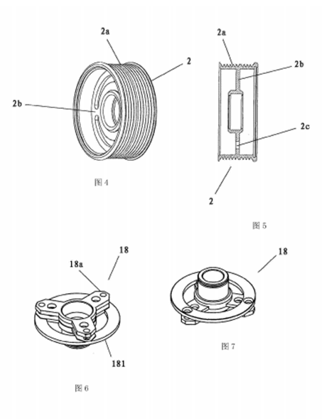
图1是本实用新型电磁离合器的分解透视图;
图2是本实用新型电磁离合器在组装状态下的横截面图;
图3是本实用新型电磁离合器在组装状态下的剖切透视图;
图4是本实用新型电磁离合器的主动轮的透视图;
图5是本实用新型电磁离合器的主动轮的横截面图;
图6-7是本实用新型电磁离合器的从动轮的透视图;
图8是本实用新型电磁离合器的从动轮的横截面图;
图9-10是本实用新型电磁离合器的模形块透视图,
图11是本实用新型电磁离合器模形块的侧视图;
图12是本实用新型电磁离合器衔铁架的侧视图;
图13是本实用新型电磁离合器衔铁架的透视图;
图14是是本实用新型电磁离合器衔铁架的局部透视图。
具体实施方式
下面参考附图介绍本实用新型的电磁离合器。本实用新型的电磁离合器100主要包括外壳组件、转轴组件、电磁铁组件、主动轮组件、从动轮组件。外壳组件包括壳体1、安装于壳体1的外侧之一 (图1中被示出在左侧)上的叶轮27以及位于两者之间的叶轮轴承—密封组件(也称为水封) 14。壳体1包括限定孔的圆筒形壁1a以及加强筋1b,如图1所示。
转轴组件包括转轴7a和安装于转轴7a上的轴承7。转轴组件从与叶轮27相反的一侧安装到壳体1的孔中,使得轴承7整体基本上被容纳在壳体1的孔中并且转轴7a的一端延伸到壳体之外与叶轮27以及叶轮轴承—密封组件14相接合,如图2所示。
冲折式装配固定环29安装在壳体1的圆筒形壁1a上将后面的电磁铁组件装配在壳体1上。该装配固定环29具有分别与各加强筋1b相接合的接合部,以便当将电磁铁组件安装在壳体上时,在圆周方向上相对于圆筒形壁la被定位。
电磁铁组件包括铁轭 24和定位于铁轭 24内的电磁线圈32。 电磁铁组件安装在壳体1上并且安装在用于接收外部动力(例如来自汽车发动机的动力或者其它外部动力) 的主动轮(带轮) 2内,电磁铁组件一侧抵靠装配固定环29、另一侧邻近后面描述的主动轮2的径向部件2b,如图1、2所示。铁轭24可以由软磁性材料形成,电磁线圈32通电后会在铁轭 24上产生磁极。
由用于将电磁线圈的末端固定到铁加 24上的插座28和用于将汽车电缆连接到插座28上的插头25构成的接插件将汽车的电缆与电磁铁的电磁线圈电连接,以便向电磁铁供电或断电。主动轮2为电磁离合器主动部分的主要构件,优选为带轮。在其他实施例中,主动轮也可以是其他构件,带轮可以与该主动轮固定连接。
图4和图5示出了主动轮2的构造,其中图4是示出主动轮的透视图,图5是示出主动轮的截面图。如图4和5所示,主动轮包括圆筒形壁2a和在轴向一定位置处从圆筒形壁2a径向向内延伸、呈圆环形式的径向部件2b。在实施例中,径向部件2b与圆筒形壁2a一体设置在主动轮2内轴向中间位置处。 但是,本实用新型不限于此,径向部件2b 也可以实际情况设置在主动轮2内的其它轴向位置处。当主动轮2的径向部件2b为软磁材料制成时,可以将该径向部件视为第一转子; 当主动轮的径向部件为非软磁材料时,也可以设置一个相对于主动轮固定的、由软磁材料制成的第一转子。如图1-3所示,电磁铁组件安装在主动轮2内,靠近主动轮2的径向部件(第一转子)。
如图4-5所示,第一转子2b设置有隔磁槽,该隔磁槽使电磁铁的特定磁场能够穿过第一转子并作用在后面描述的衔铁组件上。例如可以使电磁铁呈现径向分布的相反极性,以对应于衔铁组件的径向分布磁极的永磁体;或者使电磁铁在轴线方向呈现单个极性,以对应于衔铁组件的轴向分布磁极的永磁体。
接下来描述电磁离合器的从动部分。从动部分主要包括由衔铁19和衔铁架31构成的衔铁组件以及由从动轮18和楔形块20构成的从动轮组件。从动部分安装在主动轮2径向部件2b与电磁铁组件相反的一侧,借助于轴承33和挡圈34沿径向安装于后面描述的从动轮18的圆筒形主体与主动轮2 的径向部件之间。
衔铁组件包括沿径向或轴向分布磁极的永磁体,例如径向内侧为 N极,径向外侧为S极,反之亦可;或者轴向一侧为 N极,另一侧为 S极。优选方案为径向分布,这样可以使电磁铁组件所需要的电磁力最小,即电流最小,能耗最低。在本实施例中,通过对圆环形的衔铁19进行磁化,使衔铁19成为永磁体。在可选实施例中,永磁体结构可以是设置在衔铁19上的多个圆形的或者环形的构件。衔铁通过螺钉23与衔铁架31安装在一起。
由从动轮18和模型块20构成的从动轮组件沿轴向安装在衔铁19与衔铁架31之间。从动轮18如图6-8所示,具有:轴向延伸的圆筒形主体,用于固定(可以是过盈配合,也可以是其他安装方式)在转轴7上(参见图2),以及在远离主动轮的一端处径向延伸的多个等间隔分布(圆周方向上)的径向管18a。径向臂设有安装孔,用于将衔铁架31、楔形块20通过楔块轴22安装于径向臂上。在所示实例中,设置有三个径向臂 但是本实用新型不限于此,可以需要设置数量不同于三的多个径向臂。
可选地,从动轮18在轴向上可以设置为双层结构,其左侧(靠近主动轮一侧)设置有软磁材料制成的圆环形结构,其可以作为第二转子181;其右侧(远离主动轮一侧)设置有如上的多个径向臂18a。径向臂18a可以是与从动轮18的圆筒形主体一体设计,也可以是分离的部件通过焊接或其他方式与圆筒形主体固定连接在一起。多个径向臂18a也可以是从圆筒形主体径向延伸的单个环形结构。
在设置有第二转子181的情況下,模形块20通过模块轴22收容在从动轮的双层结构之间,即在第二转子181与多个径向管18a之间。并且,衔铁组件中的衔铁19及衔铁架31分别设置在第二转子181的轴向两侧,其中衔铁19靠近图1中的左侧,衔铁架31靠近图1中的右侧。
如图9-11所示,模形块20包括摆臂20a及楔面20b,摆臂20a通过楔块轴22安装在从动轮18的径向臂18a上。模形块20可绕模块轴22旋转。本实施例中,楔块轴22与从动轮18的径向臂18a的配合关系以及楔块轴22与楔形块20的配合关系可以分别是:a过盈配合和间隙配合;或b间隙配合和间隙配合;或c间隙配合和过盈配合。
从动轮18的径向臂18a与11契块轴22左端沉孔冲压配合,形成模块轴对径向臂18a 的左端的止挡面。楔块轴22与衔铁架31相配合的轴径大于楔块轴22与从动轮18的径向臂18a配合的轴径,从而形成对从动轮右侧的止挡面,楔块轴在轴向被限位在从动轮上。衔铁架31也通过模块轴22安装在从动轮18(的径向臂)上,受楔块轴22导向约束(模块轴22与衔铁架31是间隙配合),并能轴向往复移动。当衔铁组件移动至左侧(第一位置) 时,衔铁架31抵接在从动轮的径向臂的右侧,当衔铁组件移动至右侧(第二位置)时,衔铁抵接在从动轮的左侧,即从动轮的端面可以在轴向上对衔铁组件的移动进行限位止挡。
如图12-14所示,衔铁架31具有环形主体31a以及设置在环形主体外周上的多个u形拨叉31b 。拨叉包括第一拨杆31b1及第二拨杆31b2,第一拨杆、第二拨杆外侧面相对于转轴轴线可以是圆柱形面,也可以是平面的,第一、第二拨杆上与模形块的配合面311、312 相对于转轴轴线为螺旋面或者斜平面,该斜平面与转轴的轴线相交且不垂直。优选方案中,配合面为螺旋面。
当衔铁组件被驱动沿轴向方向移动时,配合面推动装在楔块轴22上的模形块20,这种推动力存在与圆周方向相切的力分量,使得模形块绕模块轴旋转,即将衔铁组件的轴向运动转换成模形块圆周方向的旋转运动,从而使模形块20的模面与主动轮2的内圆筒形表面摩擦接合或者分离。
可选地,楔块20上设置有外形呈圆柱形或弧形的金属箍20c,金属箍20c一体或装配设置在楔块20上,用以与衔铁架31的配合面311、312相配合,减少摩擦,使配合更加顺畅。图2-3示出了电磁离合器的组装状态,单幅构件3与主动轮配合安装,从而在电磁离合器的一侧形成封单。各部件之间的相互装配可以利用已知手段进行,这里不再详细描述。
下面参考图1描述本实用新型的电磁离合器的操作。
首先描述电磁铁组件通/断电时,衔铁组件的轴向运动。当向电磁铁组件通第一方向电流,电磁铁组件的极性与衔铁组件的永磁体的极性相反/相吸,作用在衔铁组件上。因此,在电磁力作用下,衔铁19与安装在一起的衔铁架31 克服弹性件的作用力向第一位置,优选为离合器的分离位置移动。
当衔铁组件移动至左侧(第一位置)时,衔铁组件中的永磁体会与软磁材料制成的第一转子2b相吸合。该吸合是有间隙的磁力吸合,在其他实施方式中,对应于其他的离合器结构,该吸合也可以是具有机械接触的磁力吸合。衔铁组件由于自身永磁体与第一转子的软磁材料相吸,因此,即使关闭电磁铁的电流,仅通过衔铁组件的永磁体与第一转子的软磁材料的磁性吸合力作用也可以将衔铁组件保持在第一位置,或者可以通过向电磁体组件通减小的电流就可以将衔铁组件保持在第一位置。
当向电磁铁组件通与第一方向相反的第二方向的电流时,电磁铁组件所形成的磁场的极性与衔铁组件的永磁体极性相同/相斥,电磁铁组件排斥/推动衔铁组件向右侧移动。在电磁力及弹性件的共同作用下,使衔铁组件向右侧(第二位置,按合位置)移动。此时,衔铁组件与第一转子的间隙增大,衔铁组件与第一转子之间的磁性吸合力可以忽略,衔铁组件可以仅在弹性件的作用下保持在右侧。此时可以停止对电磁铁的供电,以降低能耗。当在从动轮上设置了第二转子时,该第二转子可以为软磁材料制成。当衔铁组件移动至右侧时,与第二转子吸合,该吸合可以是有机械接触的磁性吸合,或者是有间隙的磁性吸合。衔铁组件与第二转子的吸合力及弹性件对衔铁组件的作用力共同作用更加确保将衔铁组件保持在右侧位置(第二位置)。
通过在插座28上整合一个控制部件,例如一个计数换向器,也可以通过车载继电器直接控制电磁线圈32中的电流方向来控制电磁铁的磁极。
如上,在本实用新型中,电磁铁组件通过与永磁体相同或相反的磁极极性直接对含有永磁体的衔铁组件施加相斥或相吸磁性作用力,不需要像现有专利那样克服永磁体对衔铁组件的作用力或者抵消永磁体的磁场。因此,在本实用新型中,电磁铁组件的作用力可以大幅减小,相对于前述日本专利公开和美国专利公开的电磁离合器,本实用新型的电磁铁组件中的电流的大小可以降低至现有技术中电流的约一半。同时,在衔铁组件移动至左侧或者右侧后,衔铁组件可以无需电磁铁作用力 (或仅需很小作用力) 即可以保持在相应的位置,即可以停止对电磁铁的供电(或仅需很小电流),可以大幅减少能耗,即大电流脉冲的作用时间很短,可以以秒计算。相对于前述现有技术中的电磁铁的数分钟作用时间,在本实用新型中电磁铁组件的作用时间缩短了两个数量级,大大降低了电磁铁发热的可能。




更多详情请浏览新型电磁离合器第三节
下一篇:下一篇:新型电磁离合器(三) 上一篇:上一篇:新型电磁离合器(一)
此文关键字:电磁离合器 |
相关资讯
- [20-02-23]怎么对电磁制动器进行拆装
- [20-02-17]您了解凸轮张开式制动器吗
- [18-07-30]电磁离合器的动作原理分析
- [18-07-30]电磁离合器的组装步骤
- [18-07-25]制动器是什么意思?
- [18-07-25]制动器是什么意思?
- [18-07-24]磁粉制动器选型与安装的注意事项
- [18-07-16]电磁离合器的扭矩变化
- [18-07-16]电磁离合器的扭矩变化
- [18-07-12]电磁离合器选型计算
- [16-12-01]一种新型轻量化电磁离合器
- [16-11-27]馈能型电磁转差离合器及控制方法(二)
- [16-11-24]馈能型电磁转差离合器及控制方法(一)
- [16-11-22]电磁双向可选择滚柱式超越离合器
- [16-11-20]一种电磁离合器失电制动器用摩阻材料…
- [16-11-17]新型电磁离合器(四)
- [16-11-14]新型电磁离合器(三)
- [16-11-13]新型电磁离合器(二)
- [16-11-12]新型电磁离合器(一)
- [16-11-11]公司最新发明的可逆电磁离合器(二)







