电磁离合器的变速机构(二)
电磁离合器的变速机构提供一种结构简单、成本低、自动变速的电磁离合器变速机构,它是利用主电机的旋转运动带动滑移齿轮移动,而档位的改变是依靠电磁离合器的接通与断开来实现不同档位的变速。
一种电磁离合器的变档机构,操作轴上安装有电磁离合器和螺母、拨叉机构,螺母与操纵轴通过螺纹联接,拨叉一端套装于螺母外侧,其另一端插装于沿传动轴滑动的滑移组合齿轮侧面的凹槽中。所述拨叉上设有信号块,拨叉于变速位置、与信号块相对应处设有无触点开关。所述滑移组合齿轮侧面开有孔,孔内一次装有弹簧、钢珠,弹簧外侧设有与孔呈螺纹配合的弹簧座,传动轴上设有与钢球配合的凹槽。
所述滑移组合齿轮为大齿轮与小齿轮通过螺栓连接而成的平行双齿轮结构。所述传动轴上凹槽侧面装有安全挡铁。这样制造的有益效果是1.克服了手动操纵结构需要操作者在工作过程中必须停止机床运转方可变速,同时可以实现自动编程换挡,外部也不再需要设置操纵手把,结构简单,实现了自动变速,改善了外观质量。2.可达到与目前数控机床普遍采用的液压操纵机构完全等效的功效,但却不需要复杂的液压控制系统的支持,它设有独立驱动机构而是利用主传动电机驱动,这样就大大节约了成本,可在数控机床主传动齿轮变速的机构中广泛运用。3.此种设计虽采用了电磁离合器来接通或断开变速轴的运动,但它不参与主动力的传动,所以电磁离合器的规格很小。4.本设计利用主传动电机带动操纵轴变速,在变速过程中被操纵的齿轮也在慢速旋转,将方便滑移组合齿轮在变速过程中推入到正确位置上,避免出现齿轮相顶的现象。
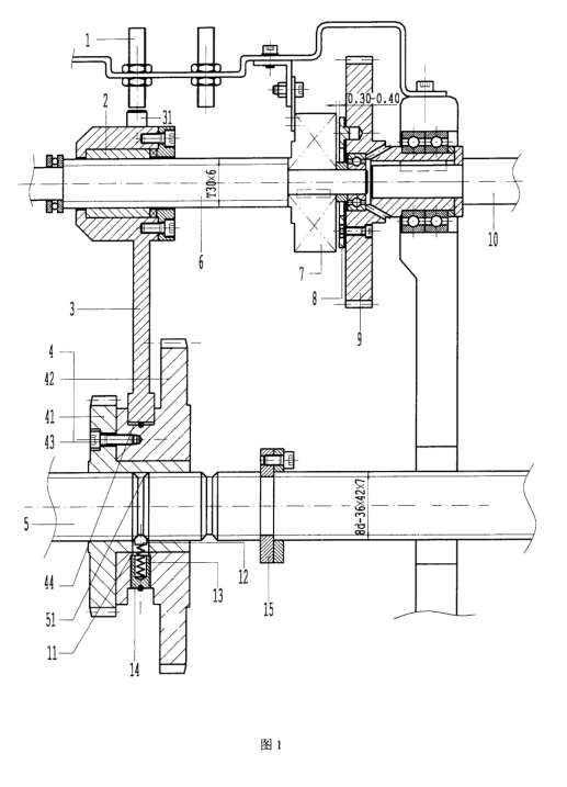
附图说明:如图1所示,电磁离合器的变速机构安装于数控机床的床头箱内,运动输入齿轮9安装于主传动轴10上,与主传动轴10同轴线的操纵轴6上安装有电磁离合器7和螺母、拨叉机构,螺母2与操纵轴6通过螺纹联接,拨叉3一端套装于螺母2外侧,其另一端插装于沿传动轴5滑动的滑移组合齿轮4侧面的凹槽44中,拨叉3上设有信号块31,拨叉3于变速位置、与信号块31相对应处设有无触点开关1,滑移组合齿轮4侧面上开有孔11,孔11内一次装有弹簧13、钢球12,弹簧13外侧设有与孔11呈螺纹配合的弹簧座14,传动轴5上设有与钢球12配合的凹槽51,当滑移组合齿轮4移至啮合位置时,钢球12与凹槽51配合,对滑移组合齿轮4定位,滑移组合齿轮4为大齿轮42与小齿轮41通过螺栓43连接而成的平行双齿轮结构,当大齿轮与其他小齿轮啮合时,实现升速;当小齿轮与其他大齿轮啮合时,实现降速,传动轴上凹槽51侧面装有安全挡铁15,用来防止滑移组合齿轮冲过凹槽51,保证安全。
当机床主传动需要变速时,先将主传动电机的转速降低下来,然后接通电磁离合器7,固定于运动输入齿轮9上的摩擦片8与电磁离合器7接触,带动操纵轴6传动,而使固定在拨叉3内的螺母2推动拨叉3作轴向移动,这时滑移组合齿轮4作轴向滑移,实现变速。
当滑移组合齿轮4移动至新的啮合位置之后,无触电开关1发出信号通知控制系统变速过程结束。主传动电机转动方向的改变将可以使操纵轴6转动的方向变化,从而控制滑移组合齿轮4正反移动。
以上动作均可实现全程编程操作,即可实现自动变速。

相关资讯
- [20-02-23]怎么对电磁制动器进行拆装
- [20-02-17]您了解凸轮张开式制动器吗
- [18-07-30]电磁离合器的动作原理分析
- [18-07-30]电磁离合器的组装步骤
- [18-07-25]制动器是什么意思?
- [18-07-25]制动器是什么意思?
- [18-07-24]磁粉制动器选型与安装的注意事项
- [18-07-16]电磁离合器的扭矩变化
- [18-07-16]电磁离合器的扭矩变化
- [18-07-12]电磁离合器选型计算
- [16-12-01]一种新型轻量化电磁离合器
- [16-11-27]馈能型电磁转差离合器及控制方法(二)
- [16-11-24]馈能型电磁转差离合器及控制方法(一)
- [16-11-22]电磁双向可选择滚柱式超越离合器
- [16-11-20]一种电磁离合器失电制动器用摩阻材料…
- [16-11-17]新型电磁离合器(四)
- [16-11-14]新型电磁离合器(三)
- [16-11-13]新型电磁离合器(二)
- [16-11-12]新型电磁离合器(一)
- [16-11-11]公司最新发明的可逆电磁离合器(二)







