新型电磁离合器动轮(二)
作者:亨劲传动发表时间:2016年10月27日
附图说明
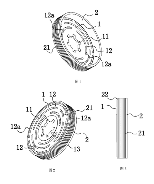
图1为本实用新型提供的结构示意图。
图2为本实用新型提供的另一视角立体结构示意图。
图3为本实用新型提供的另一视角结构示意图。
图中,环形板体1、定位槽11、隔磁结构12、隔磁槽12a、环形凸起13、筒状体2、环形槽21、环形台阶22。
具体实施方式
下面结合附图和具体实施方式对本实用新型做进一步详细的说明。
如图1-3所示,本电磁离合器动轮包括环形板体1,在环形板体1的外侧具有向该环形板体1的一面延长的筒状体2,环形板体1与筒状体2连为一体式结构。在环形板体1的内侧具有若干圆周分布的定位槽11,该定位槽11圆周均匀分布,在环形板体1上设有若干个内外间隔设置的隔磁结构12且每个隔磁结构12分别由至少两个圆周均匀分布的隔磁槽12a合围而成。
优化方案,在筒状体2外壁设有若干间隔设置且沿着筒状体2轴向分布的环形槽21。其次,为了便于拆装,在筒状体2靠近环形板体1的一端位于环形板体1的外侧中部, 且该筒状体2与环形板体1之间形成环形台阶22。
另外,本实施例的隔磁槽12a均为弧形槽且隔磁槽12a的长度从外到内逐渐缩短。 其次,在环形板体1 一面设有位于最内侧的隔磁槽12a内侧且向远高筒状体2一端延长的环形凸起13。
由于设置了定位槽能够防止周向转动,提高了连接处的机械强度和运行过程中的稳定性;若干个内外间隔设置的隔磁结构能够进一步提高线圈磁力的利用率,在相等线圈功率的情况下输出更大的扭定。

下一篇:下一篇:无齿曳引机盘式钳形电磁制动器(一) 上一篇:上一篇:新型电磁离合器动轮(一)
此文关键字:电磁离合器 |
相关资讯
- [20-02-23]怎么对电磁制动器进行拆装
- [20-02-17]您了解凸轮张开式制动器吗
- [18-07-30]电磁离合器的动作原理分析
- [18-07-30]电磁离合器的组装步骤
- [18-07-25]制动器是什么意思?
- [18-07-25]制动器是什么意思?
- [18-07-24]磁粉制动器选型与安装的注意事项
- [18-07-16]电磁离合器的扭矩变化
- [18-07-16]电磁离合器的扭矩变化
- [18-07-12]电磁离合器选型计算
- [16-12-01]一种新型轻量化电磁离合器
- [16-11-27]馈能型电磁转差离合器及控制方法(二)
- [16-11-24]馈能型电磁转差离合器及控制方法(一)
- [16-11-22]电磁双向可选择滚柱式超越离合器
- [16-11-20]一种电磁离合器失电制动器用摩阻材料…
- [16-11-17]新型电磁离合器(四)
- [16-11-14]新型电磁离合器(三)
- [16-11-13]新型电磁离合器(二)
- [16-11-12]新型电磁离合器(一)
- [16-11-11]公司最新发明的可逆电磁离合器(二)







