什么是结晶器电磁制动器?
作者:亨劲传动发表时间:2016年10月26日
现有结晶器的电磁控制装置是由一对乃至多对恒稳磁极组成,目前存在三种基本结构形式:即区域型电磁制动装置、单条型电磁制动装置和流动控制装置。区域型电磁制动装置是由两对独立的块状刺激按着磁极相反的方向,布置在水口的出流区域。它对水口的出流具有制动的效果,但此种装置体积小、作用效果仅限于水口区域,不能对整个结晶器的流动状态进行有效的控制;单条型磁极电磁制动装置是在区域型电磁制动装置的基础上改进的,它改变两对块状磁极为一对复盖结晶器宽度的条形磁极,布置在水口的下部,研究表明单条型电磁制动装置能够有效地抑制水口出流穿入深度,压缩下部回流区,但它在压缩下部回流区的同时,却引起结晶器弯月面处液面的波动加剧,也难以对整个结晶器进行有效的控制。流动控制结晶器由两个单条型磁极组成,一条磁极布置在水口下部,另一条布置在弯月面区域。其特点是结晶器内存在上、下两个水平磁场,且其磁场方向呈相反方向布置,这种结晶器能够有效而合理地控制液钢的流动状态,但也存在两个问题,一是存在漏磁(磁短路)现象,而是结晶器中磁场形式复杂,相互影响,控制调节困难。
本设计的目的是提供一种避免漏磁现象,保证上下部磁场独立性的结晶器流动控制装置。
本设计的内容,其结构仍然是两对磁极,其安装部位与流动控制装置相同,一条磁极安装在结晶器水口的下方,另一条磁极安装在弯月面区域,但与流动控制装置不同,其上下两条磁极同向分布。其原理是利用在磁场中同性磁极相互排斥,而且磁力线不能互相交叉的原理,由于磁场方向相同,不存在异性磁极相互吸引,就不会产生磁短路,不存在漏磁现象。
下面以附图和实施例进一步叙述本设计的内容。
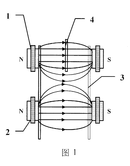
图1为本设计的磁场结构原理图;
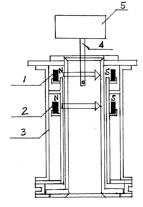
图2为本设计在分体式振动结晶器上使用的结构示意图。
图中1上部磁极,2下部磁极,3分体式振动结晶器,4浸入式水口,5中间包。图中箭头方向为磁力线方向,即磁场方向。
实施例,如图2所示,上部磁极1和下部磁极2利用水冷线圈制成,通电后产生磁场,当线圈中通过恒稳电流时,必然会切断磁力线,因而在液钢中产生感生电流,从而使它受到洛仑兹力的作用,而改变运动状态。
本设计不仅形式简单,没有漏磁,而且由于磁极结构的改变可以采用并联的电源为上下两个磁极供电,这样就可以通过在上下部磁极的感应线圈中供应不同强度的电流的方法,来单独改变上下部磁场的磁感应强度,从而可以更有效地控制和改善结晶器流场的形态。


下一篇:下一篇:电磁离合器在移动靶机上有哪些应用?上一篇:上一篇:什么是电磁失电制动器?
此文关键字:电磁制动器 |
相关资讯
- [20-02-23]怎么对电磁制动器进行拆装
- [20-02-17]您了解凸轮张开式制动器吗
- [18-07-30]电磁离合器的动作原理分析
- [18-07-30]电磁离合器的组装步骤
- [18-07-25]制动器是什么意思?
- [18-07-25]制动器是什么意思?
- [18-07-24]磁粉制动器选型与安装的注意事项
- [18-07-16]电磁离合器的扭矩变化
- [18-07-16]电磁离合器的扭矩变化
- [18-07-12]电磁离合器选型计算
- [16-12-01]一种新型轻量化电磁离合器
- [16-11-27]馈能型电磁转差离合器及控制方法(二)
- [16-11-24]馈能型电磁转差离合器及控制方法(一)
- [16-11-22]电磁双向可选择滚柱式超越离合器
- [16-11-20]一种电磁离合器失电制动器用摩阻材料…
- [16-11-17]新型电磁离合器(四)
- [16-11-14]新型电磁离合器(三)
- [16-11-13]新型电磁离合器(二)
- [16-11-12]新型电磁离合器(一)
- [16-11-11]公司最新发明的可逆电磁离合器(二)







